Description
Welding positioner P has got the following features:
• Rotation driven by AC servo-ventilated motor and vector inverter
• Mechanical tilting at fixed speed
• Hydraulic lift (PE models only)
• Interface to automatic welding machine
• 24V remote control by push button set
• Weld ground : from 400 to 1200 A
• Feeding : 400V 50 Hz
Optional features:
• Different speed ranges
• Different speed range ratios by brushless motor, with encoder for CNC incorporating one or more axis
• Different feeding
• Delayed started, overlapping, etc.
• Self-centering chucks up to Ø 630 mm (see Complementary equipment)
• Digital speedometer
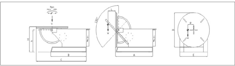
W = Weight capacity Ton
W x L =Tilt torque Tonxm
W x R =Rotation torque Tonxm
E1, E2 =Standard speed range min/max rpm
A, B, C, D, h, H, K, I = Dimensions in mm
P = Machine weight Ton
- Different speed ranges
Different speed range ratios by brushless motor, with encoder for CNC incorporating one or more axis - Different feeding
- Delayed start, overlapping, etc.
Digital speedometer
















Reviews
There are no reviews yet.